2016-2022 All Rights Reserved.平安财经网.复制必究 联系QQ 备案号:
本站除标明“本站原创”外所有信息均转载自互联网 版权归原作者所有。
邮箱:toplearningteam#gmail.com (请将#换成@)
据称可折叠产品是智能手机的未来。到目前为止,只有三星,摩托罗拉,华为和Royole这四个公司在销售这种类型的手机。但是也期望其他人很快发布他们的设备。因此,在过去的几年中,几乎所有主要的OEM厂商都已获得与可折叠产品相关的专利技术。话虽如此,小米已经详细介绍了一种减少折痕的解决方案。

可折叠产品现在有两种不同的类型。第一个设计折叠成平板电脑,而第二个设计则类似于过去的翻盖手机。但是,这两种设计都有一个共同点,那就是折痕。
在市场上所有可折叠的智能手机中都可以找到折痕。即使您不寻找它们,它们也不会打扰您,但它们仍然是一个缺陷。因此,过去几个月来,我们看到来自不同公司的多项专利正在缓解这些专利。
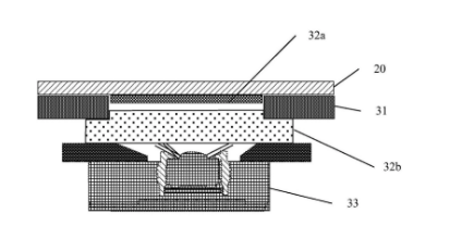
小米的新专利也解决了这个问题。该公司于2019年7月向中国国家知识产权局(CNIPA)申请了该专利。但是,该专利直到2021年2月2日才获得批准和发布。该专利的标题为“柔性屏幕的支撑结构,柔性屏幕结构和终端设备”。 ”(翻译)。
根据文档,此设计包括两个用于柔性显示面板的支撑结构。靠近屏幕的第二结构是可变形的。因此,当关闭设备时,从长远来看,显示器受较大折痕影响的可能性很小。这种设计会起作用吗?我们只能知道小米何时在商用可折叠智能手机中使用它。
到目前为止,我们仅知道小米正在开发代号为“ Cetus”的可折叠智能手机。据说这款手机配备了高通Snapdragon芯片组,108MP相机和基于Android 11的MIUI12。该设备可能是上个月在实时图像中泄露的设备。
2016-2022 All Rights Reserved.平安财经网.复制必究 联系QQ 备案号:
本站除标明“本站原创”外所有信息均转载自互联网 版权归原作者所有。
邮箱:toplearningteam#gmail.com (请将#换成@)